结构紧凑、体积小、安装方便
内泄漏低
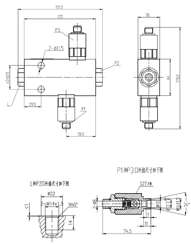
单向阀组外连接型式多样,如扩口式接头体、焊接式接头体、卡套式接头体
减压压力根据需求可定制
装载机
推土机
起重机械
农用机械
P1进油压力 MPa | 5 |
额定流量 L/min | 20 |
减压压力 MPa | 3.2 |
| 液压油 | 符合DIN 51 524 标准的矿物质油(HL、HLP) |
油液温度范围 ℃ | -20~80 |
粘度范围 mm2/s | 10~380 |
| 油液清洁度 | 油液及系统的清洁度不低NAS 1638 9级 |
重量 Kg | 2.1 |
工作曲线图
![]() | |


Copyright © 2019 浙江高宇液压机电有限公司 版权所有 All Right Reserved 浙ICP备14002341号-1
设计制作:新飞速网络