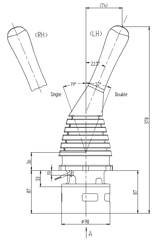
尺寸小,结构紧凑
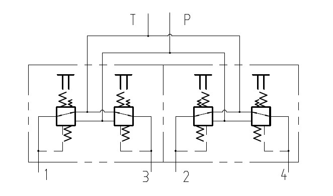
所有油口位于元件底面,安装方便
差动式减压结构,操纵更轻便
节流特性好,比例控制平稳
二级减压曲线,多路阀微控性能更好
左右手柄结构符合人体工程学,操作更舒适
双防尘罩结构,使用寿命长
可根据多路换向阀匹配需求定制压力特性曲线
挖掘机
推土机
起重机械
农用机械
物料搬运机械
垃圾压实机
林业机械
集装箱吊
钻机
进油压力 MPa | 最大5 |
控制流量 L/min | 最大16 |
回油压力 MPa | 最大0.3 |
| 液压油 | 符合DIN 51 524 标准的矿物质油(HL、HLP) |
油液温度范围 ℃ | -20~80 |
粘度范围 mm2/s | 10~380 |
| 油液清洁度 | 油液及系统的清洁度不低于NAS 1638 9级 |
重量 Kg | 3 |
4TH6Y06先导阀压力特性曲线图 ![]() 4TH6X06先导阀压力特性曲线图 ![]() | |


![Z5FS]BE%V]S(40P~IYV7F9N.jpg Z5FS]BE%V]S(40P~IYV7F9N.jpg](UploadFile/2019042015557481949423460.jpg)
Copyright © 2019 浙江高宇液压机电有限公司 版权所有 All Right Reserved 浙ICP备14002341号-1
设计制作:新飞速网络