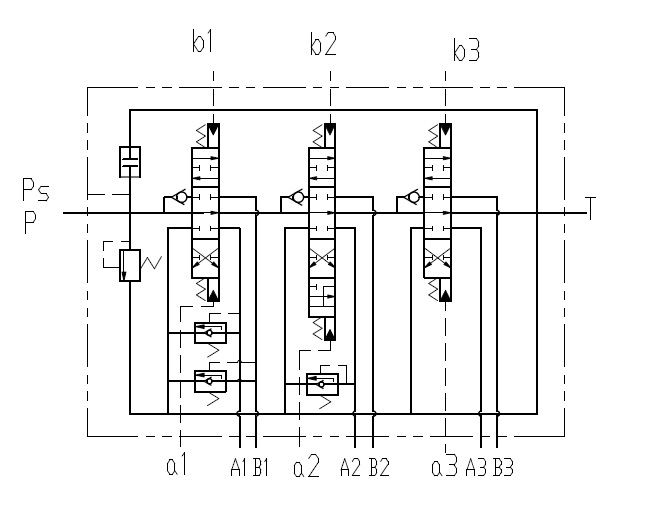
分片式结构,1~8阀片可任意组合
并联、串并联或双回路系统可组合在一个多路阀内
阀芯使用精控沟槽,递进式流量控制特性,使其具有较宽流量
控制方式:液压远程控制
结构紧凑,便于管路布置
内置主安全阀、过载阀、补油阀及单向阀等采用插装式结构,通用性好,便于维修
装载机
推土机
农用机械
物料搬运机械
林业机械
集装箱吊
额定压力 MPa | 25 |
额定流量 L/min | 250 |
主溢流阀调压范围 MPa | 10~25 |
次级溢流阀调压范围 MPa | 15~31.5 |
| 液压油 | 符合DIN 51 524 标准的矿物质油(HL、HLP) |
油液温度范围 ℃ | -20~100 |
粘度范围 mm2/s | 10~380 |
| 油液清洁度 | 油液及系统的清洁度不低于GB/T 14039-93 19/16级或NAS 1638 10级 |
重量 Kg | 58 |



Copyright © 2019 浙江高宇液压机电有限公司 版权所有 All Right Reserved 浙ICP备14002341号-1
设计制作:新飞速网络