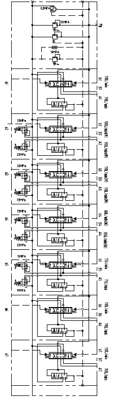
分片式结构,1~8阀片可叠加组合,采用并联回路型式
可由用户选择多种阀芯机能自由组合
流量与负载压力无关的负载敏感控制,节省能耗
采用压力补偿技术,多工作机构复合动作得以良好实现
阀芯使用精控沟槽,使其有良好的精控功能
控制阀芯配合合理,内泄漏量小
便于管路布置,减少系统的压力损失
内置主安全阀、过载阀、再生补油阀及先导供油阀等
采用插装式结构,通用性好,便于维修
小型挖掘机
挖掘/装载机
钻机
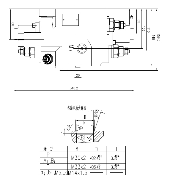
额定压力 MPa | 25 |
额定流量 L/min | 160(最大流量200L/min) |
主溢流阀调压范围 MPa | 10~25 |
次级溢流阀调压范围 MPa | 15~31.5 |
阀芯操作力 N | 190 |
| 液压油 | 符合DIN 51 524 标准的矿物质油(HL、HLP) |
油液温度范围 ℃ | -20~100 |
粘度范围 mm2/s | 10~380 |
| 油液清洁度 | 油液及系统的清洁度不低于GB/T 14039-93 19/16级或NAS 1638 10级 |
重量 Kg | 105 |
DLV20-07负载敏感片式多路阀

DLV20-07负载敏感片式多路换向阀


Copyright © 2019 浙江高宇液压机电有限公司 版权所有 All Right Reserved 浙ICP备14002341号-1
设计制作:新飞速网络