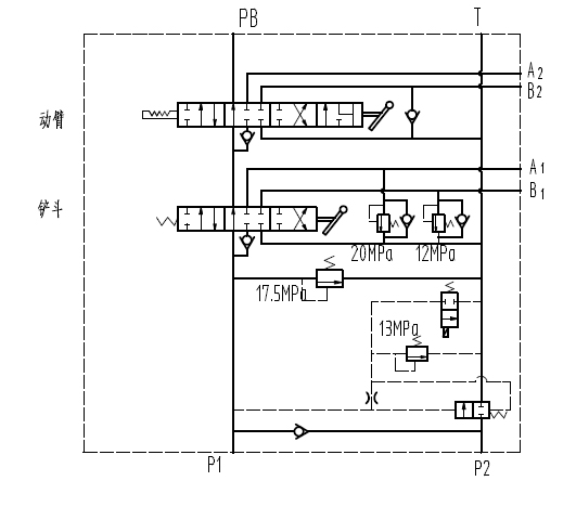
片式结构多路阀,可扩展成多联多路阀
可由用户选择多种阀芯机能自由组合
可选择串联和并联回路型式
双泵合流进油,提高作业效率
辅助进油口可以根据工况电磁卸荷
工作系统高压时辅助进油口自动卸荷
管路布置合理,减少系统的压力损失
内置主安全阀、过载阀、补油阀及单向阀等采用插装式结构,通用性好,便于维修
挖掘/装载机
叉车
农用拖拉机辅助功能
钻机
起重机械
物料搬运机械
额定压力 MPa | 25 |
额定流量 L/min | 160(最大流量200L/min) |
主溢流阀调压范围 MPa | 10~25 |
次级溢流阀调压范围 MPa | 15~31.5 |
电磁阀工作电压(电流) | DC24V(电流0.7A) |
阀芯操作力 N | 170 |
| 液压油 | 符合DIN 51 524 标准的矿物质油(HL、HLP) |
油液温度范围 ℃ | -20~100 |
粘度范围 mm2/s | 10~380 |
| 油液清洁度 | 油液及系统的清洁度不低于GB/T 14039-2002 19/16级或NAS 1638 10级 |
重量 Kg | 21.5(两联阀) |

注:系统原理图中各压力阀参数可根据用户工况要求,详细指定


Copyright © 2019 浙江高宇液压机电有限公司 版权所有 All Right Reserved 浙ICP备14002341号-1
设计制作:新飞速网络